当前位置:首页
> 汽车| 摩托车
> 改装物品
> 座套
> 丰田用
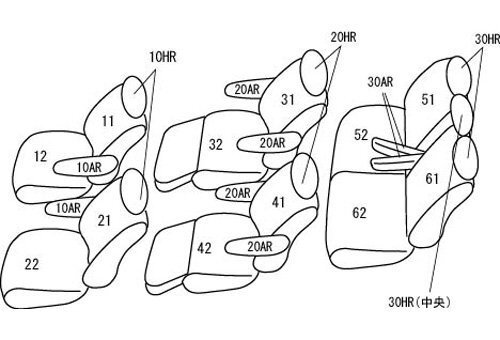
> Clazzio シートカバー ヴィンテージ アルファード/ヴェルファイア ANH20W ANH25W GGH20W GGH25W 1列目手動シート
- Clazzio シートカバー ヴィンテージ アルファード/ヴェルファイア ANH20W ANH25W GGH20W GGH25W 1列目手動シート
- 商品编号:n1208342744 【浏览原始网页】
当前价:RMB 2009
加价单位:500日元
出价:0次
直 购 价:RMB 2009.05











![{$data['title']拍卖](http://yahooimg2.ymibuy.cn/i/auctions.c.yimg.jp/images.auctions.yahoo.co.jp/image/dr000/auc0111/user/c66c0f8ca062ae5e97b1d21458e54f8c1dc4ffbdf3463d7d67a38b447a94c50f/i-img500x340-17634814746937n5fipy3035.jpg)
![{$data['title']拍卖](http://yahooimg2.ymibuy.cn/i/auctions.c.yimg.jp/images.auctions.yahoo.co.jp/image/dr000/auc0111/user/c66c0f8ca062ae5e97b1d21458e54f8c1dc4ffbdf3463d7d67a38b447a94c50f/i-img800x550-17634813112542vs2hd483431.jpg)
![{$data['title']拍卖](http://yahooimg2.ymibuy.cn/i/auctions.c.yimg.jp/images.auctions.yahoo.co.jp/image/dr000/auc0111/user/c66c0f8ca062ae5e97b1d21458e54f8c1dc4ffbdf3463d7d67a38b447a94c50f/i-img600x400-17634813112591hnpcnc83431.jpg)
![{$data['title']拍卖](http://yahooimg2.ymibuy.cn/i/auctions.c.yimg.jp/images.auctions.yahoo.co.jp/image/dr000/auc0111/user/c66c0f8ca062ae5e97b1d21458e54f8c1dc4ffbdf3463d7d67a38b447a94c50f/i-img600x446-17634812809390neame447049.jpg)


