当前位置:首页
> 摩托车
> 配件
> 汽车| 摩托车
> 化油器,喷射
> 雅马哈用
> 化油器
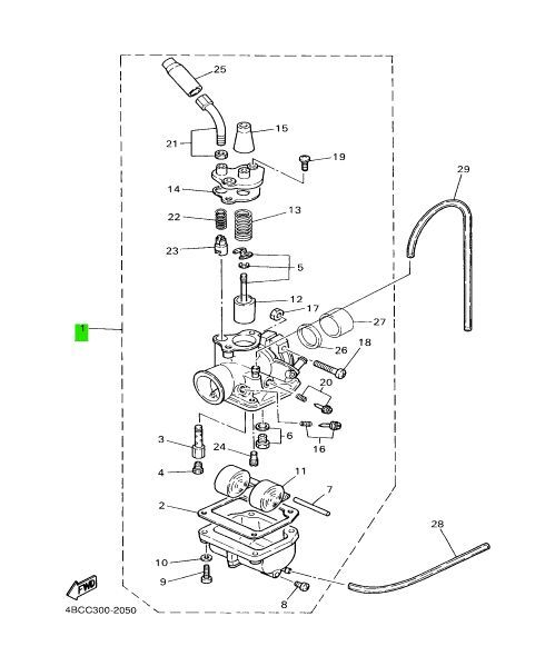
> ヤマハ PW80 キャブレター CARBURETOR 21W-14101-01 YAMAHA 純正 Genuine JDM メーカー純正品 未使用
- ヤマハ PW80 キャブレター CARBURETOR 21W-14101-01 YAMAHA 純正 Genuine JDM メーカー純正品 未使用
- 商品编号:r1184567370 【浏览原始网页】
当前价:RMB 884
加价单位:500日元
日 元:
出价:0次
直 购 价:RMB 935.50











![{$data['title']拍卖](http://yahooimg2.ymibuy.cn/i/auctions.c.yimg.jp/images.auctions.yahoo.co.jp/image/dr000/auc0105/user/07e4c0721eaefbd080c4bc255ef6301452858754c6448b5d65672f608aac5669/i-img499x599-17470517058413578x3k8r8.jpg)