当前位置:首页
> 运动、休闲
> 自行车
> 零件
> 椅墊支架
> 其他
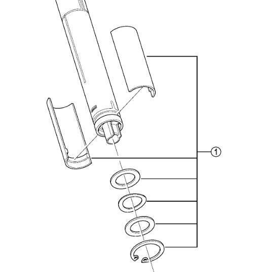
> シマノ Di2 SM-BTR2 アダプターユニット Y7FH98010 シマノDi2内蔵バッテリー対応シートポスト用パーツ 新品 送料無料
- シマノ Di2 SM-BTR2 アダプターユニット Y7FH98010 シマノDi2内蔵バッテリー対応シートポスト用パーツ 新品 送料無料
- 商品编号:v1205764468 【浏览原始网页】
当前价:RMB 40
加价单位:10日元
出价:0次











![{$data['title']拍卖](http://yahooimg2.ymibuy.cn/i/auctions.c.yimg.jp/images.auctions.yahoo.co.jp/image/dr000/auc0110/user/afcdc808036ced924fe42a91689db033621d74337cebddbd1d20a0562f627558/i-img525x538-1761692206414926d2tg57760.jpg)